Pomimo tego, że transport drogowy stanowi podstawę większości działań logistycznych dotyczących zarówno przewożenia towarów, jak i pasażerów, problematyka związana z naprawami ram pojazdów użytkowych jest bardzo słabo opisana w literaturze technicznej. Poszukując informacji w opracowaniach naukowych, można odnieść wrażenia, że tematu właściwie nie ma. Istnieją, co prawda, bardziej szczegółowe analizy wytrzymałości połączeń spawanych, czy też opisy badań parametrów wytrzymałościowych struktury ram w zależności od zastosowanych metod spawalniczych, ale czy tego oczekuje sektor serwisów zajmujący się likwidacją szkód? Na pewno, nie!
Ramy pojazdów
Rama to najważniejsza część nośna samochodu ciężarowego. Nie jest, jak to niektórzy twierdzą, częścią układu jezdnego. Rama stanowi element nośny, do którego zamocowane są pozostałe części pojazdu, w tym zawieszenie. Być może słowa te burzą dotychczasowy porządek, jaki niejeden czytelnik miał do tej pory, ale jeżeli tak jest, to tym bardziej proszę o uwagę. Zadaniem ramy jest zapewnienie pojazdowi właściwej sztywności w zależności od jego przeznaczenia. Niektóre pojazdy służą do transportu towarów o niewielkiej masie, ale są i takie, które nie dość, że muszą przewozić duże obciążenia, to jeszcze pracują w bardzo ciężkich warunkach. Przykładem mogą być duże wywrotki lub dźwigi samochodowe. Warto dodać, że pojazdy użytkowe narażone są na deformacje konstrukcji nośnej nie tylko w przypadku kolizji drogowej, ale i podczas eksploatacji. Stąd pojęcie prostowania eksploatacyjnego, jakie wyodrębniłem podczas tworzenia innowacyjnej linii napraw pojazdów użytkowych.

Uszkodzona rama ciągnika siodłowego
Ramy mają różną konstrukcję, co zależy głównie od nośności i przeznaczenia pojazdu. Najczęściej spotykana jest budowa podłużnicowa, mająca szerokie zastosowanie np. w ciągnikach siodłowych i naczepach. Rama podłużnicowa zbudowana jest zwykle z dwóch wzdłużnych belek nośnych, powiązanych wieloma poprzeczkami. Badania oraz wieloletnie doświadczenia wykazały, że ta konstrukcja doskonale sprawdza się w nawet najtrudniejszych warunkach i pozwala na zachowanie odpowiednich własności mechanicznych przy stosunkowo małej masie własnej.
Dla porządku warto usystematyzować główny podział ram ze względu na ich budowę:
Należy zaznaczyć, że występują również ramy zespolone z płytą podłogową pojazdu, ramy częściowe, pomocnicze i kratownicowe (np. w autobusach). Ciekawym przypadkiem ramy samochodowej jest tzw. rama pośrednia, przeznaczona do stosowania z zabudowami wymiennymi w zależności od przeznaczenia pojazdu. Spotykana jest głównie w konstrukcji naczep.
Ze względu na przenoszone obciążenia mechaniczne ramy produkuje się z tzw. stali wysokogatunkowej. Są to głównie stale niskostopowe o podwyższonej wytrzymałości, takie jak 18G2 i 18G2A. W celu zwiększenia granicy plastyczności obecnie stosowane gatunki stali posiadają zmniejszoną zawartość fosforu, siarki i węgla. Zawierają za to nieznaczne dodatki uszlachetniające, co w efekcie pozwala na osiągnięcie wartości 570 MPa. Ciekawym dodatkiem do stopów stosowanych w konstrukcji ram jest miedź. Nieznaczny dodatek tego pierwiastka (maks. 0,45%) pozwala na znaczne zmniejszenie podatności stali na korozję powstającą w wyniku trudnych warunków atmosferycznych i zanieczyszczenia solą.
Czy można naprawiać ramy?
Można, ale należy zrobić to zgodnie ze sztuką. Oznacza to, że jeżeli podczas czynności naprawczych nie dokona się destrukcji struktury materiałów (np. poprzez przegrzanie), wymieni się elementy uszkodzone w stopniu wykluczającym ich naprawę i przywróci geometrię całej konstrukcji, to można uznać, że poza aspektami ekonomicznymi nie ma innych przeciwwskazań.
Wszystko zaczyna się na etapie oceny zakresu uszkodzeń. Właściwa selekcja uszkodzeń na elementy podlegające naprawie i wymianie – to kluczowy moment w procesie likwidacji szkody. Ze względu na trudności technologiczne wydaje się, że najwięcej problemów może przysporzyć naprawa ramy nitowanej. Dotyczy to odtworzenia połączeń nitowanych o parametrach technicznych zbliżonych do tych uzyskanych podczas produkcji.
Nitowanie wymaga zastosowania urządzeń nitujących oraz nitów wysokiej jakości, a siły potrzebne do zanitowania ramy sięgają kilkuset kiloniutonów. Połączenia spawane wydają się łatwiejsze do wykonania w serwisie napraw powypadkowych oraz firmach wykonujących zabudowy specjalne. To są jednak tylko pozory. Nie jest łatwo wykonać prawidłowe, zgodne z technologią producenta połączenie spawane gwarantujące przywrócenie oryginalnej wytrzymałości połączenia oraz oczekiwanych własności mechanicznych ramy.
Ważne jest nie tylko jak, ale i jaką metodą wykonywane jest połączenie. Producenci często dokładnie wskazują sposób przygotowania elementów ramy do procesu spawania, jak i ewentualne zastosowanie wzmocnień. Niektórych ram nie wolno spawać podczas procesu naprawy, a jedynie w przypadku modyfikacji lub dostosowania do zabudowy specjalnej, ale również tylko według dokumentacji producentów pojazdów.
Najłatwiejsza wydaje się naprawa ram skręcanych. Warto jednak zaznaczyć, że większość napraw, czy to powypadkowych, czy eksploatacyjnych, wiąże się z procesem prostowania elementów ramy. Często podczas prostowania następuje podgrzewanie miejscowe. Podgrzewanie strefy prostowania jest w pewnych granicach procesem wręcz pożądanym, ponieważ struktura materiału ma ułatwione zadanie przy łagodnym odkształcaniu. Kluczowe jednak jest zachowanie podstawowej zasady: nigdy nie wolno podgrzewać prostowanego elementu stalowego powyżej temperatury granicznej, jaką jest 650°C.

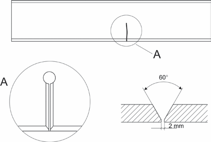
Przykład prawidłowej naprawy za pomocą łączenia poprzez spawanie ze wzmocnieniem

Naprawa pęknięcia metodą spawalniczą

Aby zmniejszyć masę własną pojazdu, większość części konstrukcyjnych wykonywanych jest z wysokogatunkowych stopów metali, przeważnie stalowych. Przegrzanie wysokogatunkowego stopu o podwyższonych własnościach mechanicznych powoduje bezpowrotną ich utratę. Niestety, podczas szkoleń i konsultacji z pracownikami serwisów naprawiających pojazdy użytkowe wynika, że w zasadzie nikt tej podstawowej zasady nie przestrzega. Jeżeli jednak jest ktoś, kto stosuje podgrzewanie, nie przekraczając temperatury granicznej, to będzie to jedynie wyjątek potwierdzający regułę.
Pomiary i diagnostyka
Niezbędnym i nieodłącznym elementem procesu naprawy pojazdu są jego pomiary. Dotyczy to zarówno ramy nośnej, jak i układu jezdnego. Najważniejsze dla procesu eksploatacji pojazdu są właściwe parametry geometrii układu jezdnego, które bywają powiązane z kształtem konstrukcji nośnej. Zauważalny jest brak gruntownej wiedzy co do zasad dotyczących zarówno geometrii ram, jak i układu jezdnego pojazdów. Wszechobecne błędne teorie, mity, jak i proces ciągłej wymiany kadr w serwisach naprawczych nie sprzyjają podnoszeniu poziomu znajomości tej problematyki wśród serwisantów. Podczas naprawy powypadkowej zawsze zaczyna się od przywrócenia geometrii ramy i, aby cały proces przebiegał sprawnie, konieczne jest zastosowanie systemu pomiarowego.

Układ jezdny a rama pojazdu

Pomiary ramy pojazdu: a – pomiar odchylenia osi środkowej ramy, b – pomiar skrzywienia bocznego belki ramy, c – pomiar skręcenia ramy
Pomiary kształtu ramy wydają się bardzo logiczne i zrozumiałe oraz stosunkowo proste do wykonania różnymi dostępnymi metodami. Należy jednak zwrócić szczególną uwagę na wadę kształtu, jaką jest skręcenie. Bez zastosowania odpowiedniego sprzętu pomiarowego jest bardzo trudno skontrolować tę właściwość. Szczególnie wtedy, gdy do ramy zamocowane są elementy wyposażenia pojazdu.
Do ramy przymocowane są osie i koła. Geometria układu jezdnego ma bezpośredni wpływ na stopień bezpieczeństwa poruszających się pojazdów, jak i na ekonomię. Podobnie jest w przypadku pojazdów użytkowych, a ewentualny aspekt ekonomiczny jest bardzo znaczący, ponieważ dotyczy kosztu opon, zużycia paliwa oraz elementów zawieszenia. W przypadku tych pojazdów sprawa jest bardziej skomplikowana, ponieważ często bywają one wieloosiowe. Przez geometrię układu jezdnego rozumie się zbiór zależności kątowych, opisujących ustawienie oraz wzajemne usytuowanie wszystkich kół jezdnych pojazdu. Parametry dotyczą zarówno położenia kół mierzonego względem płaszczyzny na której stoi pojazd (pochylenie koła), jak i ustawienia elementów układu kierowniczego (pomiary sworznia zwrotnicy). Pomiary dotyczą również kątów skrętu kół. Poprzez kontrolę wszystkich kół jezdnych wyznaczane są osie układu jezdnego (np. geometryczna oś jazdy), co pozwala na zmierzenie odchyleń osi, jak i późniejszą poprawną regulację zbieżności kół wszystkich osi.
W przypadku pomiaru pojazdów o konstrukcji ramowej pomiar zwykle dokonywany jest w odniesieniu do ramy nośnej pojazdu. Warto tutaj zwrócić uwagę, aby właściwie ustawiony był cały układ osi i kół pojazdu. Sprawa kształtu ramy jest odrębnym zagadnieniem.

Pomiar układu geometrii osi i ram
Należy pamiętać, że przed przystąpieniem do naprawy, szczególnie technologią spawania, konieczne jest wykonanie dokładnej analizy ekonomicznej i technologicznej. Od tej analizy zależy zarówno poprawność decyzji o naprawie, jak i prawidłowe zastosowanie metod jej wykonania. Chcąc być pewnym bezpiecznej naprawy ramy, należy przestrzegać wszystkich zaleceń producenta pojazdu oraz ogólnych zasad pracy zgodnych ze sztuką. Warto być dociekliwym i docierać do źródeł informacji opracowanych przez producentów pojazdów. Sporo materiałów można znaleźć w Internecie i, choć są one może niezbyt obszerne, na pewno będą pomocne.

0 komentarzy dodaj komentarz