Encyklopedia Autonaprawy

A B C D E F G H I J K L Ł M N O P R S Ś T U V W Z

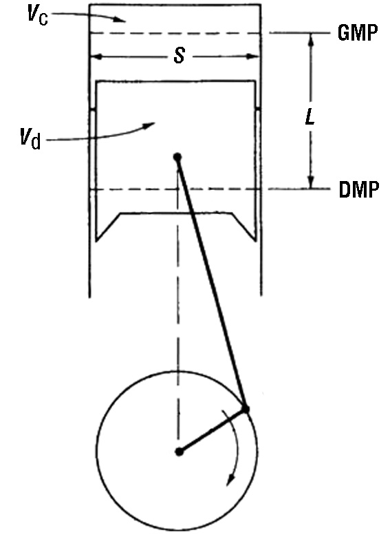
Skok tłoka (ang. piston stroke)

Długość drogi tłoka w cylindrze pomiędzy górnym » GMP i dolnym » DMP jego skrajnym (martwym) położeniem.

Vc - pojemność komory spalania, Vd - pojemność skokowa, S - średnica cylindra, L - skok tłoka



 

Wasi dostawcy


Polecane


ver. 2023#2