Automatyczna kontrola systemu wydechowego, stosowana w motocyklach Suzuki dla poprawy charakterystyki silnika poprzez dławienie przepustnicą przepływu spalin.

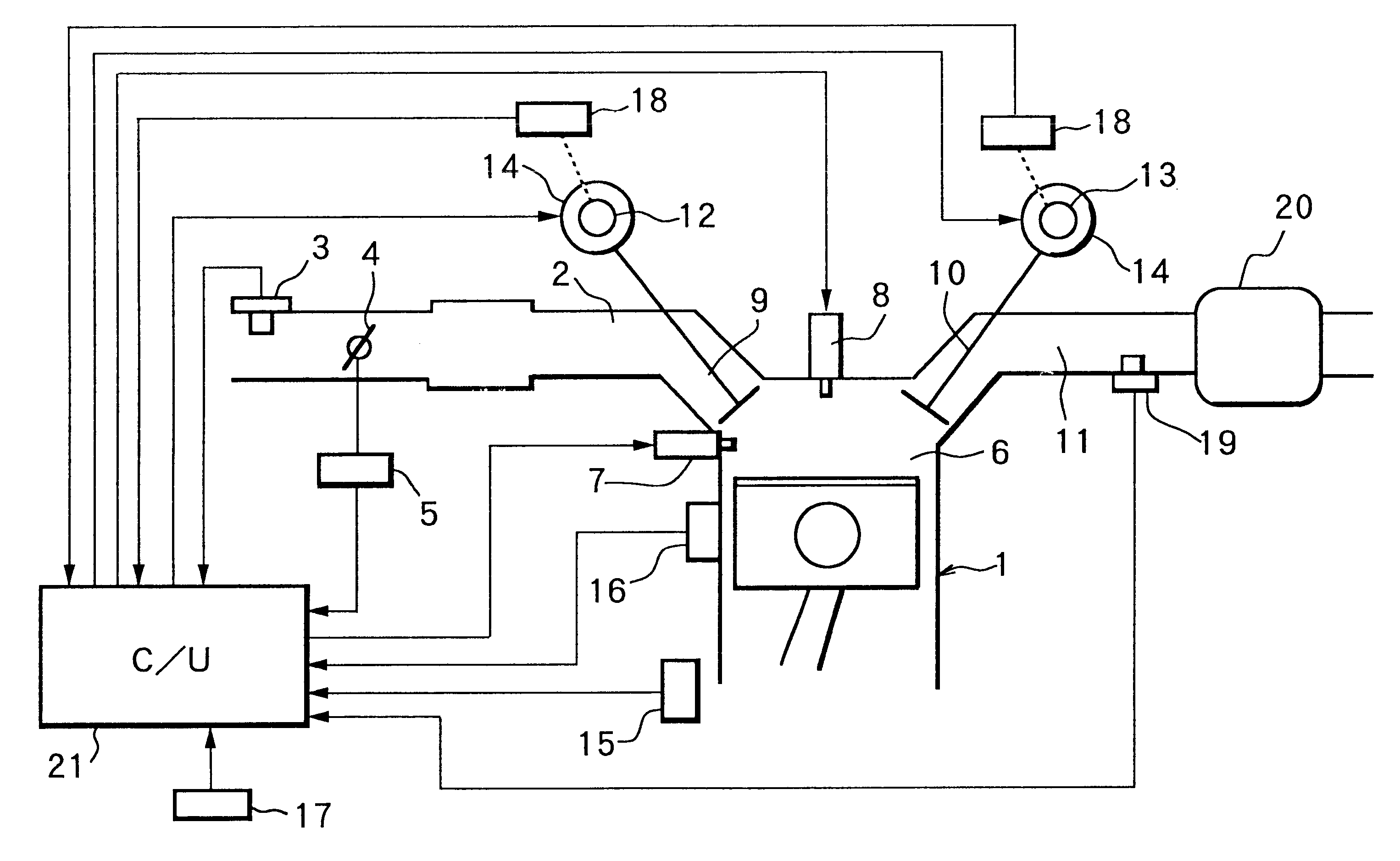
Struktura systemu AECT
1. cylinder 2. kanał dolotowy 3. przepływomierz 4. przepustnica 5. czujnik otwarcia przepustnicy 6. komora spalania 7. wtryskiwacz paliwa 8. świeca zapłonowa 9. zawór dolotowy 10. zawór wydechowy 11. kanał wydechowy 12. i 13. wały rozrządu (dolotu i wydechu) 14. mechanizm zmiany fazy wydechu 15. czujnik pozycji wału korbowego 16. czujnik temperatury silnika 17. włącznik zapłonu 18. czujniki pozycji wałów rozrządu 19. sonda lambda 20. katalizator wydechowy 21. mikroprocesorowy sterownik silnika