Encyklopedia Autonaprawy

A B C D E F G H I J K L Ł M N O P R S Ś T U V W Z

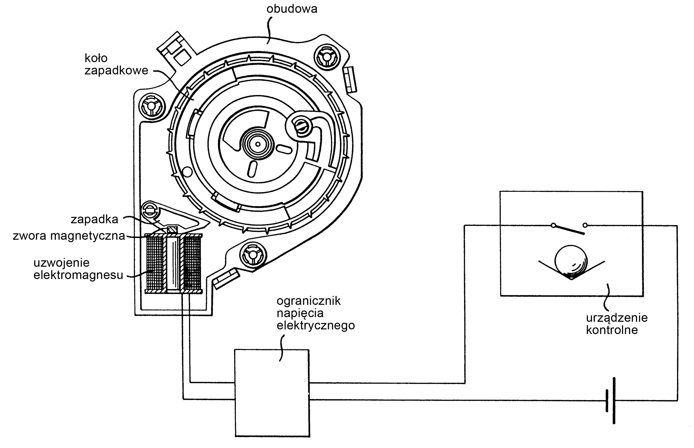
ALR (ang. automatic locking retractor)

Automatyczna blokada pasów bezpieczeństwa, stosowana także do stabilnego mocowania fotelika dziecięcego. Współdziała z » CPOD (childseat presence orientation detection).

Mechanizm blokujący ARL

 

 

Schemat systemu ARL



 

Wasi dostawcy


Polecane


ver. 2023#2